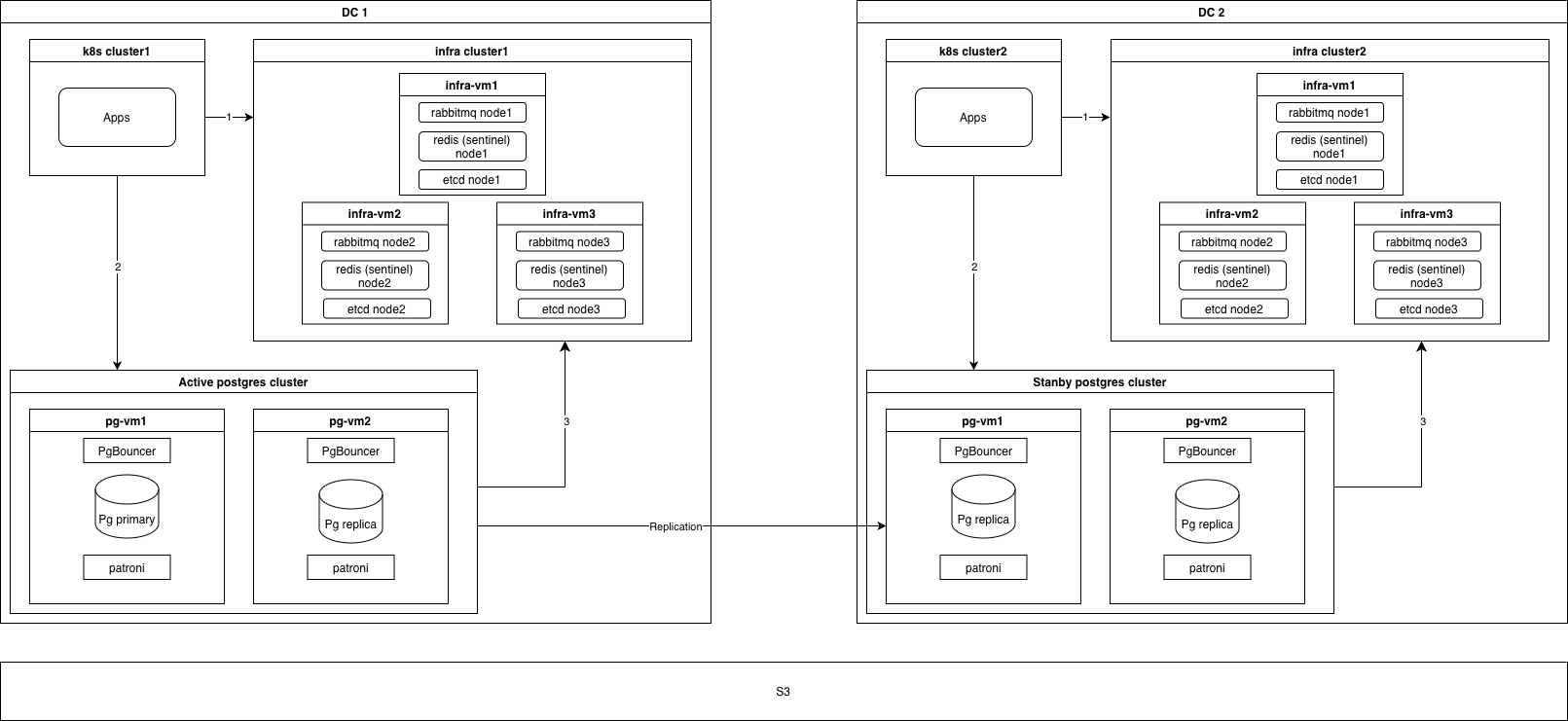
Схема обеспечения HA на 2 дата-центра (Active / Passive)
2 DC (Active / Passive) + PostgreSQL standby cluster
В каждом DC развернуто:
- Локальный кластер k8s
- Локальный HA Redis (sentinel mode)
- Локальный etcd кластер (для работы patroni)
Standby cluster HA multi datacenter
- PostgreSQL кластер
Сервисы TeamStorm подключаются к Redis, Rabbitmq, PostgreSQL (через PgBouncer). (1)(2) PgBouncer и patroni хостятся на каждой ноде postgresql. Patroni подключается в кластеру etcd (3) PostgreSQL работает в режиме StandBy Cluster c Manual Switchover. Это значит, что данные реплицируются во второй DC, но в случае сбоя возможно только ручное переключение.

